เว็บท่ากรมศิลปากร
Thai
English
กองโบราณคดีใต้น้ำ
หน้าหลัก
เกี่ยวกับหน่วยงาน
วิสัยทัศน์และพันธกิจ
ประวัติและบทบาทหน้าที่
โครงสร้างและบุคลากร
หน่วยงานในสังกัด
ข่าวและกิจกรรม
ข่าวกิจกรรม
ข่าวจัดซื้อจัดจ้าง
ข่าวรับสมัครงาน
คลังภาพกิจกรรม
ข่าวประชาสัมพันธ์
ปฏิทินกิจกรรม
คลังวิชาการ
ความรู้ทั่วไป
คลังภาพทรงคุณค่า
หนังสืออิเล็กทรอนิกส์
วีดีทัศน์
นิทรรศการ
ประชาชนควรรู้
กฎหมายและระเบียบ
เรื่องน่ารู้
บริการ
เอกสารดาวน์โหลด
แบบสอบถาม
สอบถามบ่อย
ติดต่อเรา
หน้าแรก
คลังวิชาการ
คลังภาพทรงคุณค่า
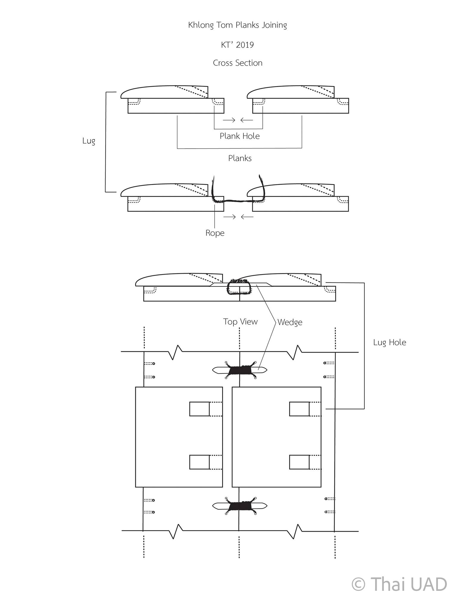
แหล่งเรือจมคลองท่อม จ.กระบี่
(จำนวนผู้เข้าชม 1206 ครั้ง)
สงวนลิขสิทธิ์ © 2563 กรมศิลปากร. กระทรวงวัฒนธรรม -
นโยบายเว็บไซต์
|
มาตรฐาน
|
นโยบายการคุ้มครองข้อมูลส่วนบุคคล